Високовольтні імпульсні конденсатори
Різні типи високовольтних імпульсних конденсаторів, розроблені та виготовлені в інституті, використовуються як акумулятори електричної енергії у генераторах імпульсних струмів (ГІС) і генераторах імпульсних напруг (ГІН) електротехнічних установок різного технологічного призначення та електрофізичних установок для проведення досліджень.
- Застосування нових оригінальних технологій і досягнень науки й техніки забезпечує виготовлення конкурентоспроможних конденсаторів
- Розроблені імпульсні конденсатори відрізняються оптимальними практичними співвідношеннями ресурсу та питомої запасеної енергії, малими габаритами, високими показниками надійності, зручністю монтажу
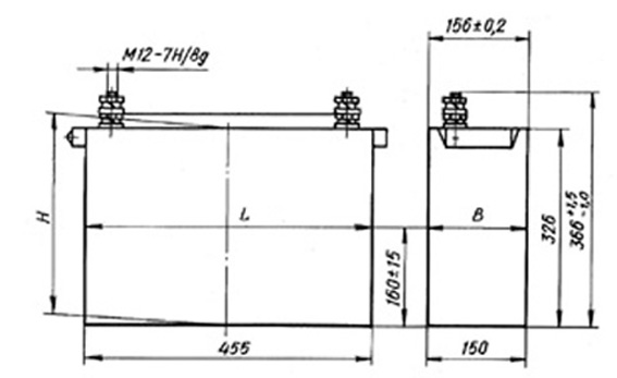
- Конденсатори мають прямокутне й циліндричне виконання в металевих та ізоляційних корпусах, зручних для монтажу в ГІС і ГІН
- Можуть працювати в ненормованому робочому положенні при ударно-вібраційних навантаженнях, при великих значеннях зовнішнього гідростатичного тиску до 50 МПа та температурі навколишнього середовища до 100°C
- Більшість імпульсних конденсаторів не мають аналогів; конструкції захищені авторськими свідоцтвами та патентами України
Технічні характеристики імпульсних конденсаторів
| Тип | Ємність, мкФ | Напруга, кВ | Струм, кА | Крутизна, кВ/мкс |
|---|---|---|---|---|
| ИК-6-250 | 250 | 6 | 181 | 400 |
| ИМП-6-200 | 200 | 6 | 127,6 | 500 |
| ИК-10-20 | 20 | 10 | 45 | 800 |
| ИК-25-1 | 1 | 25 | 40,3 | 135 |
| ИК-25-3.9 | 3,9 | 25 | 78 | 600 |
Малоіндуктивні імпульсні конденсатори
| Тип | Струм, кА | Крутизна, кВ/мкс |
|---|---|---|
| ИКЧ-50-0,035 | 16 | 70 |
| ИК-100-0,1 | 50 | 9,7 |
Контакт: +38 (0512) 55-82-52